www.wieduwilt.org
Modellbahn und große Eisenbahn
Home
Blog
Gleispläne
Kleinanlagen
Anlagen
Kopfbahnhöfe
Zwischenbahnhöfe
Verzweigungsbahnhöfe
Grenzbahnhöfe
Handgezeichnet
Schmalspur
H0-Modellbahnforum
RailModeller
AnyRail
Gebäudebau
Anleitung
Bauzeichnungen
Fahrwerkhaus
Wellblechschuppen
Vorbild
Triebfahrzeugarchiv
Archiv
Wagenzeichnungen
Literatur
Impressum
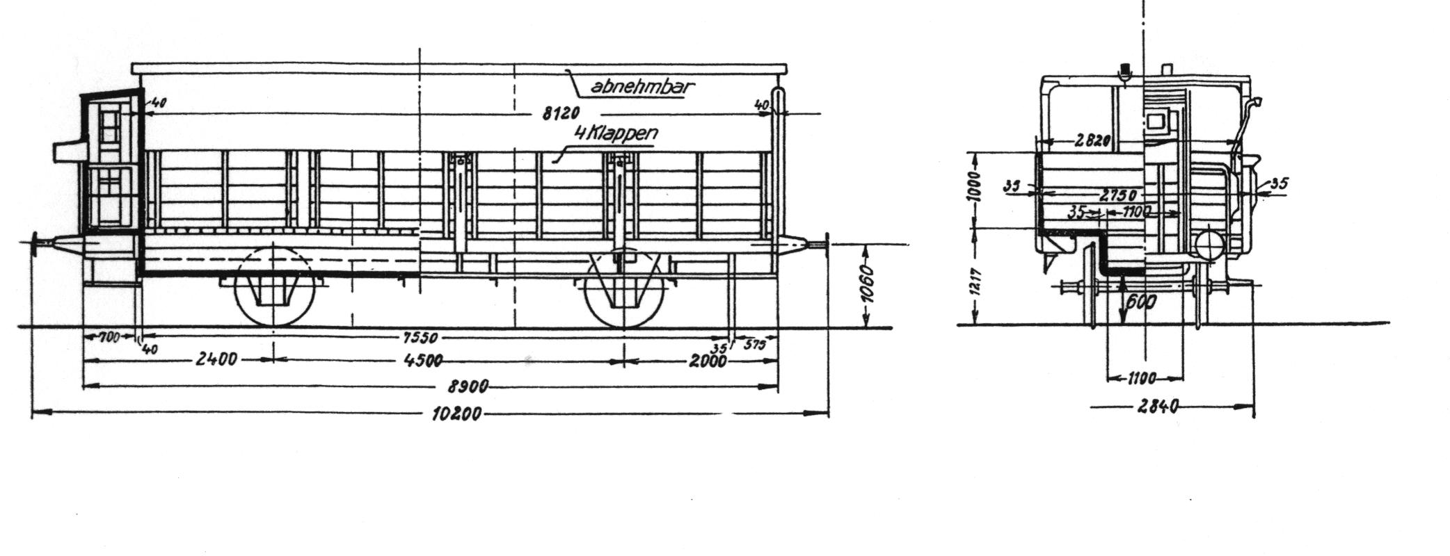
Wagen für außergewöhnliche Transporte
Wagen nach Skizze 118. Für ein größeres Bild einfach draufklicken!
Diese Seite wurde am 14. Dezember 2011 zum letzten Mal bearbeitet.